BMW ha brevettato viti a forma del suo emblema

Di: Volodymyr Kolominov | 22.12.2025, 20:43
L'AI ha convertito il brevetto in immagine: nuove possibilità nella visualizzazione delle idee Immagine creata usando l'AI basata sul disegno del brevetto. Fonte: AI

BMW ha presentato una domanda di brevetto all'OMPI (Organizzazione Mondiale della Proprietà Intellettuale) per viti con teste progettate a somiglianza del logo dell'azienda.

Cosa si sa

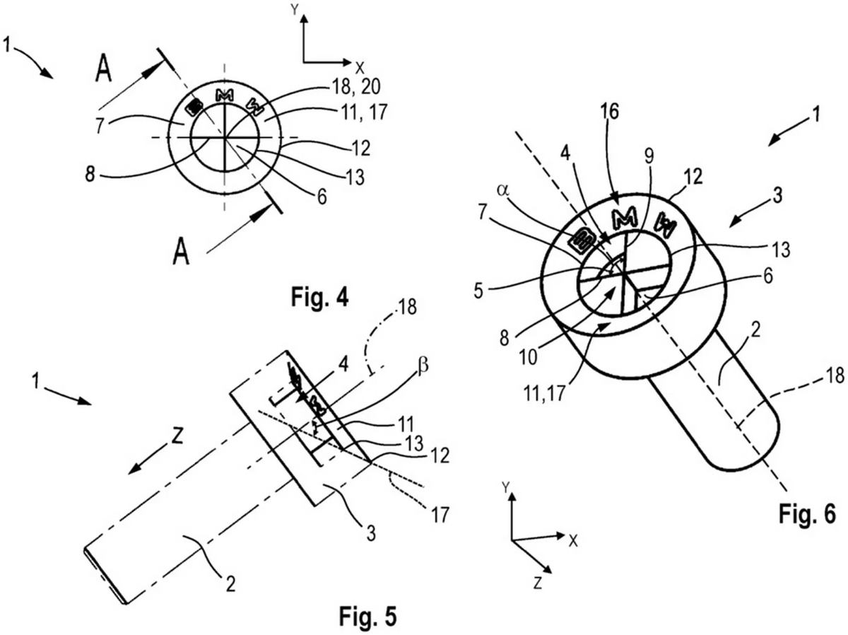
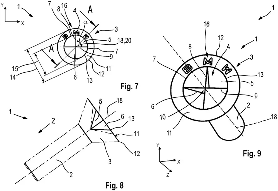
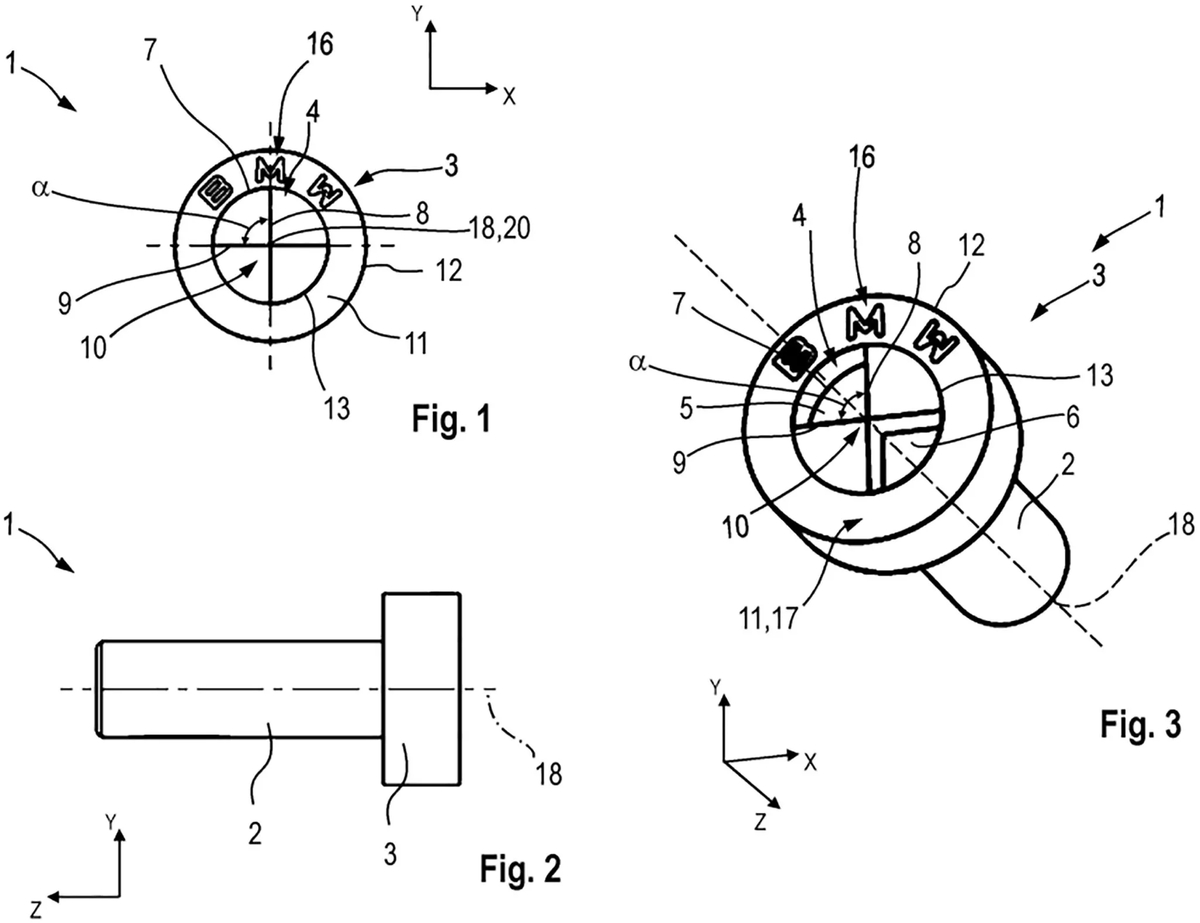
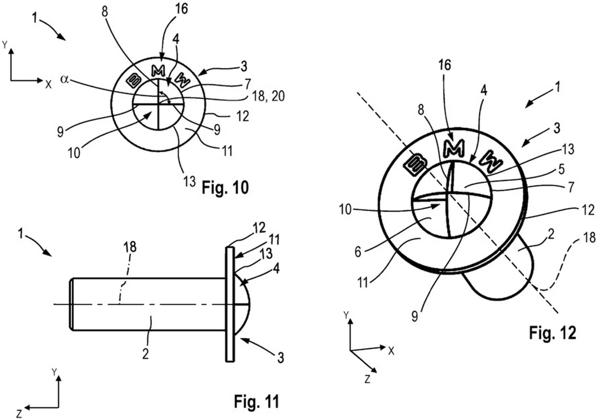
Il brevetto descrive quattro tipi di teste, comprese quelle piatte e arrotondate. Ognuna riflette la forma dell'emblema BMW, diviso in quattro settori. Due settori sono incavati, mentre gli altri sono piatti o sporgenti.

A prima vista, le teste delle viti di marca sembrano interessanti, soprattutto se usate su parti visibili delle auto. Ma per i meccanici o i proprietari con kit di attrezzi standard, sono molto meno attraenti. Le forme insolite delle viti significano che gli strumenti ordinari non si adattano, e chiunque voglia accedere ai componenti chiave potrebbe aver bisogno di attrezzature speciali BMW.

Non è difficile immaginare il mal di testa che ciò potrebbe causare nelle officine. I kit standard non riusciranno a far fronte e, a meno che non siano concessionari BMW o appassionati dedicati, è probabile che si manchi di un cacciavite per una riparazione completa.

Tuttavia, se queste viti andranno in produzione è una questione aperta. I produttori di automobili depositano molti brevetti che non vanno mai oltre il tavolo da disegno. Questi disegni specifici sono stati depositati il 7 giugno 2024 e pubblicati l'11 dicembre 2025. Ma per ora rimangono solo disegni.

Fonte: Autoblog