Le auto ibride Porsche diventeranno più leggere e più potenti grazie a un motore elettrico speciale

Di: Volodymyr Kolominov | 12.11.2025, 22:41
Esplorando la Potenza Iconica: Un'Analisi Approfondita della Porsche 911 Carrera GTS Porsche 911 Carrera GTS. Fonte: Porsche

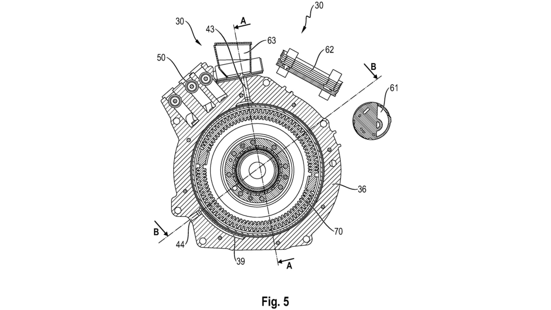
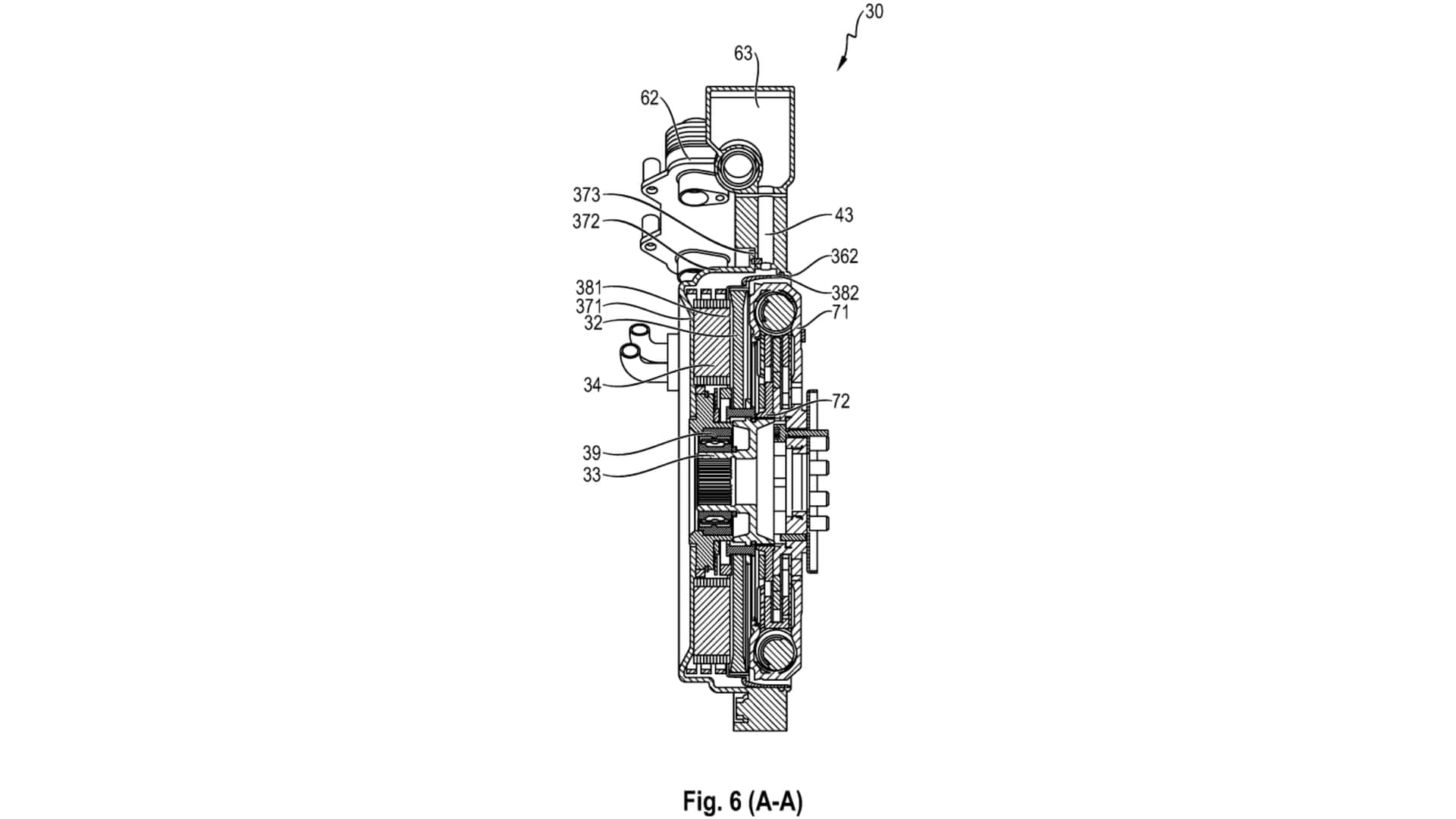
Porsche ha registrato un brevetto per un propulsore ibrido che combina motori elettrici a flusso assiale compatti e leggeri dal fornitore Yasa con un motore a combustione interna.

Cosa è noto

Il brevetto è stato registrato presso l'Organizzazione Mondiale per la Proprietà Intellettuale (OMPI). Il documento si applica a qualsiasi autovettura, ma menziona specificamente l'uso "nelle auto sportive".

Invece di installare un motore elettrico a flusso radiale relativamente grande nella scatola di trasmissione PDK, come fa attualmente Porsche nella 911 Carrera GTS, un sottile motore elettrico a flusso assiale sarà collocato tra il motore e la trasmissione.

Il motore a flusso assiale (noto anche come "motore a disco") è un motore elettrico in cui il flusso magnetico passa parallelamente all'asse di rotazione, a differenza dei motori radiali convenzionali dove il flusso è perpendicolare all'asse. Ciò consente la creazione di design più compatti, leggeri ed efficienti con un'elevata potenza e coppia specifica, specialmente a basse velocità.

Il brevetto specifica che il motore elettrico e il motore a combustione interna lavoreranno insieme attraverso una trasmissione a doppia frizione. Grazie al design ultra-sottile del motore elettrico (in alcuni modelli moderni, è spesso solo 7,9 centimetri), non aumenterà la lunghezza dell'intero propulsore.

Si afferma che un tale design contribuisca a una minore generazione di calore. In combinazione con una camera a forma di ciotola o campana permeabile descritta nel documento, il motore elettrico e il motore a combustione interna dovrebbero ricevere un raffreddamento sufficiente. La domanda principale: quanta potenza può generare questo sistema ibrido?

È noto che le unità più potenti di Yasa raggiungono oltre 470 CV e 800 Nm di coppia. La Ferrari SF90 ibrida utilizza tre motori Yasa con una potenza totale di 217 CV, mentre due motori Lamborghini Revuelto sviluppano appena sotto i 296 CV. Ma entrambi questi sistemi lavorano in combinazione con grandi motori V8 e V12.

Se Porsche combina il nuovo motore a flusso assiale con un motore turbo da 3,6 litri, la potenza totale del sistema potrebbe superare gli 800 CV.

Fonte: Carbuzz